 |
IBM-AUSTRIA - PC-HW-Support 30 Aug 1999 |
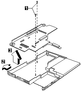
System/planar Board
Planar Board
Note: See 'Replacing the System Board' before proceeding.
Remove the two screws from the planar board and gently
remove the planar board from the base cover ASM.
| Step |
Size (Quantity) |
Head & Color |
Torque |
| 1 |
M2.5 x 6L (2) |
Pan head, black |
3.2 kgf-cm |
Note: Make sure you use the correct screw for replacement.
More INFORMATION / HELP is available at the IBM-HelpCenter
Please see the LEGAL - Trademark notice.
Feel free - send a
for any BUG on this page found - Thank you.