|
|

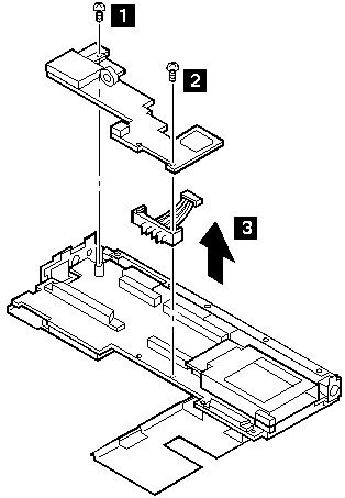
| Step | Location (Quantity) | Length |
|---|---|---|
| 1 | DSP card (1) | 6 mm |
| 2 | DSP card (1) | 14 mm |
NOTE: Make sure you use the correct screw. Screw Size Chart
Please see the LEGAL - Trademark notice.
Feel free - send a
for any BUG on this page found - Thank you.