Return to MAIN-Index  Return to SUB-Index    IBM-AUSTRIA - PC-HW-Support    30 Aug 1999

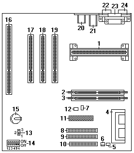
PC 300 - 6267, 6277, 6287 - Celeron™ - System Board Layout



PC 300 - 6267, 6277, 6287 - Celeron™ - System Board Layout
 

Celeron™ - Processor Board - I/O Connectors
 

See Part-Two (fullscreen)