Return to MAIN-Index  Return to SUB-Index    IBM-AUSTRIA - PC-HW-Support    30 Aug 1999

IntelliStation - 6889 Models



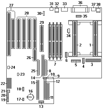
IntelliStation - 6889 (dual) Pentium® II Models
 

Input/Output Connectors
 

See Part-Two (fullscreen)