|
|


| Step | Location (Quantity) | Length |
|---|---|---|
| 1 | Expansion bus, lower shield (2) | Hex head |
| 1 | I/O connector, lower shield (6) | Hex head |
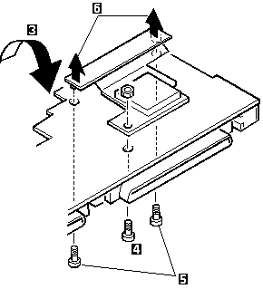
| 4 | Processor card (1) | 6 mm |
| 5 | Processor card connector 750x - (2), 370C, 755C, 755Cs - (1) |
4 mm |
NOTE: Make sure you use the correct screw. Screw Size Chart
Please see the LEGAL - Trademark notice.
Feel free - send a
for any BUG on this page found - Thank you.