Return to MAIN-Index  Return to SUB-Index    IBM-AUSTRIA - PC-HW-Support    30 Aug 1999

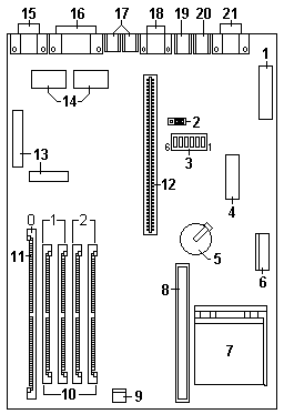
System Board Type 8639 (FRU 93H1758)


 

See Part-Two (fullscreen)