Return to MAIN-Index  Return to SUB-Index    IBM-AUSTRIA - PC-HW-Support    30 Aug 1999

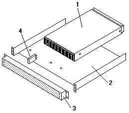
Parts (Type 3523 Fibre Channel Hub & GBIC)



Parts Type 3523 Fibre Channel Hub & GBIC
 

See Part-Two (fullscreen)