Return to MAIN-Index  Return to SUB-Index    IBM-AUSTRIA - PC-HW-Support    30 Aug 1999

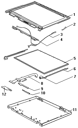
14.1-inch LCD Asm Parts



14.1-inch LCD Asm Parts

 

See Part-Two (fullscreen)