Return to MAIN-Index  Return to SUB-Index    IBM-AUSTRIA - PC-HW-Support    30 Aug 1999

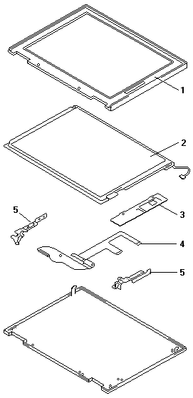
Parts Listing - 12.1-Inch TFT-LCD (600-2645)



Parts - 12.1-Inch TFT-LCD

 

See Part-Two (fullscreen)