Return to MAIN-Index  Return to SUB-Index    IBM-AUSTRIA - PC-HW-Support    30 Aug 1999

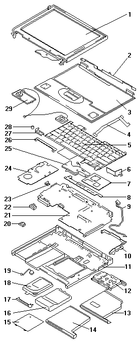
Parts Listing (600 - 2645)



Parts Listing TP 600 - Type 2645

 

See Part-Two (fullscreen)