Return to MAIN-Index  Return to SUB-Index    IBM-AUSTRIA - PC-HW-Support    30 Aug 1999

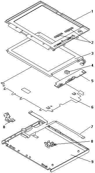
LCD FRU (DSTN) Parts TP 560 (2640)


 

See Part-Two (fullscreen)