Return to MAIN-Index  Return to SUB-Index    IBM-AUSTRIA - PC-HW-Support    30 Aug 1999

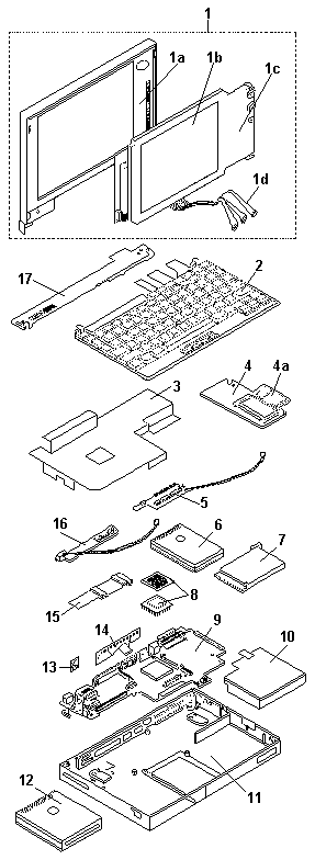
Parts Listing 365C, CD, CS, CSD (2625)


 

See Part-Two (fullscreen)