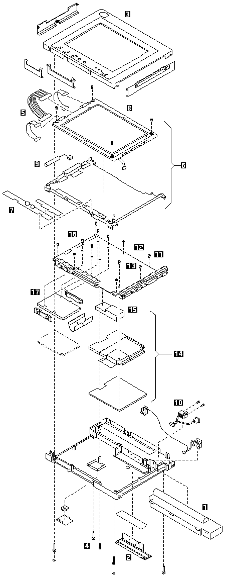
ThinkPad 710T Exploded View (2523)



ThinkPad 710T Exploded View
 


More INFORMATION / HELP is available at the  IBM-HelpCenter

Please see the LEGAL  -  Trademark notice.
Feel free - send a Email-NOTE  for any BUG on this page found - Thank you.