 |
IBM-AUSTRIA - PC-HW-Support 30 Aug 1999 |
Checking the Car-Battery Adapter
Checking the Car-Battery Adapter
NOTE:
There are several types of adapters
but the checkout procedure is the same for both of them.
- Unplug the Car-Battery Adapter cable from the computer.
- Plug the Car-Battery Adapter into the cigarette lighter socket.
NOTE: If the adapter is already plugged in, reseat it.
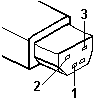
- Measure the output voltage of the Car-Battery Adapter cable.
| Pin |
Voltage (Vdc) |
| 1 |
+19.0 to +21.0 |
| 2, 3 |
Ground |
NOTE:
If the output voltage from the cigarette lighter socket of the
car is less than 10.5 Vdc,
a continuous noise can be heard.
The condition of the car battery
should be checked by appropriate service personal.
Back to 
More INFORMATION / HELP is available at the IBM-HelpCenter
Please see the LEGAL - Trademark notice.
Feel free - send a
for any BUG on this page found - Thank you.