 |
IBM-AUSTRIA - PC-HW-Support 30 Aug 1999 |
Video Card (9552)
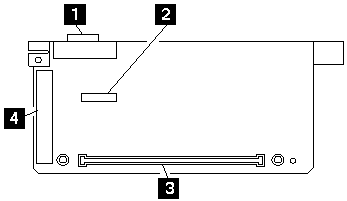
Video Card
1 External Display Connector
2 LCD Connector
3 System Board Connector
4 Communication Adapter Connector
More INFORMATION / HELP is available at the IBM-HelpCenter
Please see the LEGAL - Trademark notice.
Feel free - send a
for any BUG on this page found - Thank you.