Return to MAIN-Index  Return to SUB-Index    IBM-AUSTRIA - PC-HW-Support    30 Aug 1999

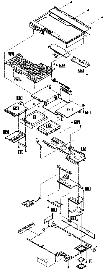
ThinkPad 700 Exploded View (9552)



ThinkPad 700 Exploded View
 

 

See Part-Two (fullscreen)